最近免费中文字幕大全免费版视频,亚洲男人的天堂网站,欧妇女乱妇女乱视频,亚洲va韩国va欧美va

歡迎訪問北京中天恒遠環保設備有限公司官網!
咨詢熱線:010-8022-5898 手機:18610094262
北京中天恒遠
成功案例:J301項目氧化還原爐(二期)全自動加藥裝置工程案例 成功案例:供熱集團500t/h浮動床鈉離子交換器工程案例 成功案例:內蒙古煤礦恒壓變頻供水機組工程案例 成功案例:煤礦井下防爆軟化水設備工程案例分享 成功案例:奧迪一汽新能源汽車項目40t/h*2解析除氧器工程案例 成功案例:青海銅業50t/h深度水處理站超濾和反滲透系統改造項目
品牌合作
 一、解析除氧器概述
  解析除氧器是除氧器的一種,是一種可以將溶解在水中的氧氣出掉的裝置,解吸除氧是利用物理-化學相結合原理將水中溶解氧脫除的方式,其原理及設備原型技術首先由歐洲的科技人員推出。
  新一代的解吸除氧設備是"七·五"國家科委下達給清華大學熱能工程系及國家機械委設計研究院的重點攻關項目,該項目于88年完成第一代產品的設計定型并通過國家鑒定。經過多年的推廣應用,該技術已在全國各地擁有眾多用戶。
  該設備具有占地面積小、設備投資及運行費用少、操作簡便、給水不需加熱、除氧效率高、能適應已運行鍋爐加裝除氧器的要求等特點,是工業鍋爐給水除氧和化工、醫藥行業用水除氧的必選設備之一,適用于蒸汽鍋爐、熱水鍋爐給水、熱網補充水及各種工業用水的除氧,目前在各地供暖、電站鍋爐、化工熱交換器等設備上使用情況良好,達到了減緩氧腐蝕、延長設備使用壽命和設備大修周期、降低消耗、節約能源的目的。
  針對各種實際情況,北京中天恒遠公司對產品進行了改進,設備運行效果有了很大提高;出廠預組裝給運輸和安裝提供了極大的便利;設備實現全自動控制,隨時啟動;新的氣水流程使設備功耗更低。為工程和設計人員提供了新的思路和解決問題的更多選擇。
  我公司的銷售和技術服務人員經過與用戶的多次接觸和交流,積累了豐富的經驗,為設備的長期穩定運行提供充份保障。本公司對產品質量實行"三包",可向用戶提供詳細的技術資料,完善的安裝、調試、技術培訓、零配件供應等售后服務,并可根據用戶需求提供特殊規格的產品。 
 
二、除氧器工作原理
  水中溶解氧的存在是鍋爐、熱交換器和熱網管道發生腐蝕的主要原因,這種腐蝕造成了能源和資金上的嚴重浪費,同時給設備的安全運行埋下隱患。為此,國家《低壓鍋爐水質標準》(GB 1576-2001)中對鍋爐給水除氧裝置的配裝提出了明確要求。另外,化工、化肥等行業換熱網中的設備和管道的氧腐蝕也是因水中溶解氧含量過高造成的,這類腐蝕已困擾各行業技術人員多年,嚴重影響了其節能技術的改進,人們對工業用水的除氧日益重視起來。 但同時由于傳統的除氧設備在運行上存在各自的不足,在很多時候不能適應用戶的需求,或是耗能太大,或對水質有較大影響,所以除氧技術的開發日益受到關注。
  解吸除氧是基于亨利定律, 將無氧的氣體與含氧水強烈混合,使溶解在水中的氧析出至氣體中去, 而使給水達到水質要求。含氧氣體在加熱反應器內反應成無氧的惰性氣體循環使用。根據亨利定律,混合氣體中的某一組分在液體中的溶解度[C]和該氣體在氣液分界面上的平衡分壓[P]成正比,即:C=K·P。
  亨利定律在給水除氧中的應用最初由歐洲的科技人員提出,早期設備將反應器置于鍋爐煙道中進行加熱,由于存在溫度不易控制等不足之處,其應用推廣一直受到很大局限。近年來在以清華大學廣大科技人員的努力下,該技術從流程到運行效果都有很大改變。
 
三、解析除氧器技術特點
  1.  待除氧的水不需要加熱予處理, 常溫時即可進行除氧; 
  2.  低位布置, 采用無給水箱式的部分余水回流系統, 占地面積更小,系統簡單,便于安裝,節省設備和基建投資; 
  3.  除氧效率高(達99%),除氧后水中溶解氧含量可降至0.01~0.1mg/L; 
  4.  負荷適應性好,自動化程度高,一按電鈕即可啟、停,正常運轉時可實行無人值守; 
  5. 運行費用低,與其它方式相比,電力、熱能消耗大大降低。
 
四、 設計安裝要點
  由于設備結構簡單,所以在設計和安裝方面沒有特別嚴格的要求,下列幾點在必要時可據具體情況進行不同程度的改動1、設備只需單地基,建議解吸器底部預埋鋼板,安裝時現場焊接;反應器底部只需水平; 2、設備距墻不少于30cm,設備的相對位置可根據具體情況有一些變動;3、在設備附近的墻上安置配電柜,功率因設備型號而異; 4、按流程根據現場條件將設備就位, 應注意保持解吸器頂部高于水箱最高水位2米以上;5、建議除氧泵揚程45~50米;除氧泵流量應為設備出力的1.25~1.5倍(型號參見表四);6、按流程將設備連接起來,接口除特定指明外以焊接為佳;設備及各管路應無泄漏; 7、在保證流程合理的前提下,設備可靈活布置,建議靠墻或邊角布置;8、設備布置困難時,可將引射器、解吸器氣水分離器與換熱器、加熱反應器、電控柜分開布置(如分置于室內外、分置于不同樓層等);9、若用戶需要有專用的密閉除氧水箱,可根據附圖進行連接.
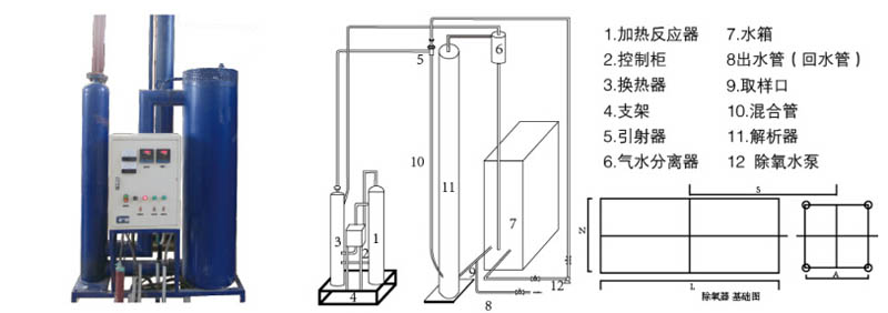
  原理流程圖
       1. 加熱器→2. 反應器→3.換熱器→4. 補水泵→5. 引射器→6. 氣水分離器→7. 軟水箱→8. 回水管→9. 取樣口→10.混合管→11.解吸器→12.除氧泵

五、解析式除氧器設備圖片案例
                   
                  

 
六、解析除氧器設備型號
型號 ZK-J-4 ZKX-10 ZKX-16 ZKX-20 ZKX-35 ZKX-42 ZKX-54 ZKX-70
出力t/h 2-4 6-10 12-16 18-22 30-38 40-45 50-58 74-80
功耗KW 2.0 3.4 6.0 7.6 13.5 16.3 20.5 25.0
自重Kg 485 675 985 1125 1750 2250 2550 2750
基礎
尺寸
mm
L 1350 1400 1550 1600 1950 1950 2000 2250
A 200 250 300 340 460 500 550 600
N 475 510 630 630 780 780 950 950
S ≥1500

七、客戶選型參數表
參數選型表
解析除氧器選型參數表

服務地區:北京;天津;上海;重慶;河北;河南;云南;遼寧;黑龍江;湖南;安徽;山東;江蘇;浙江;江西;湖北;廣西;甘肅;山西;陜西;吉林;福建;貴州;廣東;青海;四川;寧夏;海南
服務地區:哈爾濱;長春;沈陽;南京;濟南;合肥;石家莊;鄭州;武漢;長沙;南昌;西安;太原;成都;西寧;海口;廣州;貴陽;杭州;福州;臺北;蘭州;昆明;銀川;烏魯木齊;拉薩;南寧
補充分類:電廠;工業;游泳池;系統;工程;工程師;藥劑;過濾器;絮凝劑;公司;廠家;生產廠家;